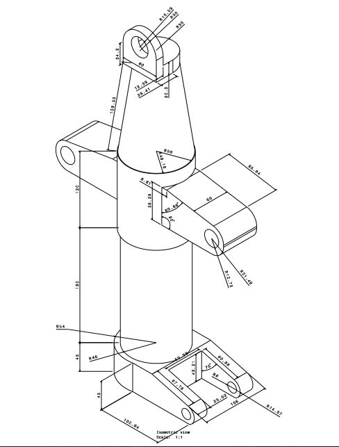
G021370-飞机起落架液压盖(ID:2192676)
查找相似图纸
截图
AI截图渲染
✨AI图片渲染
| # | 文件名称 | 文件大小 |
|---|---|---|
| 1 | 17484712103589.zip | 1.07M |
| 2 | Capture.JPG | 26.49K |
| 3 | Capture1.JPG | 40.24K |
| 4 | HYDRAULICCOVER-LANDINGGEAR.CATDrawing | 464.48K |
| 5 | HYDRAULICCOVER-LANDINGGEAR.pdf | 81.20K |
| 6 | landinggearhydrauliccover.CATPart | 485.83K |
此图纸下载需要20金币
立即下载
发布者
任性的百合
创作: 238919
粉丝: 277
加入时间:2024-09-01
模型信息
图纸ID:2192676
图纸格式:pdf,catpart
文件大小:1.1M
所需金币:20
上传时间:2025-05-29 06:26:50
是否可编辑:可修改,包括参数
软件版本:CATIA V5R20
标签
图纸简介
版权说明
用户在本站上传的作品如侵犯到您的权益,请与本站管理员联系删除。用户在本站下载的原创作品,只拥有作品的使用权,著作权归原作者所有,未经合法授权,用户不得以任何形式发布、传播、复制、转售该作品。
作者其它图纸 查看更多
AI渲染-将平面图渲染为真实效果图
原图
渲染图
正在渲染中,请稍候...

0.png)
2.png)
3.png)
4.png)
1.png)