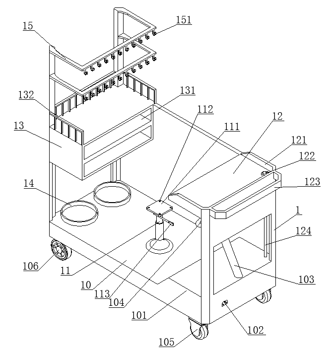
一种移动办公治疗车(ID:2637957)
截图
AI截图渲染
✨AI图片渲染
| # | 文件名称 | 文件大小 |
|---|---|---|
| 1 | 17580991597181.rar | 562.89K |
| 2 | 一种移动办公治疗车.dwg | 641.77K |
| 3 | 图片1.png | 15.76K |
| 4 | 图片2.png | 17.39K |
| 5 | 图片3.png | 25.71K |
| 6 | 图片4.png | 7.22K |
| 7 | 图片5.png | 6.41K |
此图纸下载需要8金币
立即下载
发布者
清秀的绿茶
创作: 1443
粉丝: 9
加入时间:2023-08-28
模型信息
图纸格式:dwg
文件大小:576.4KB
所需金币:8
上传时间:2025-09-17 16:52:40
是否可编辑:可修改,包括参数
版本:AutoCAD 2010
标签
图纸简介
版权说明
用户在本站上传的作品如侵犯到您的权益,请与本站管理员联系删除。用户在本站下载的原创作品,只拥有作品的使用权,著作权归原作者所有,未经合法授权,用户不得以任何形式发布、传播、复制、转售该作品。
AI渲染-将平面图渲染为真实效果图
原图
渲染图
正在渲染中,请稍候...






