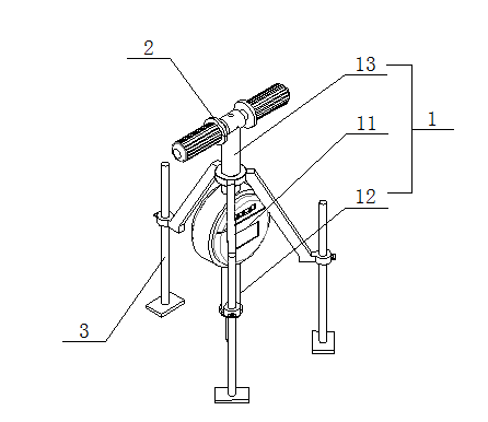
水利工程用地基检测装置(ID:2653630)
截图
AI截图渲染
✨AI图片渲染
| # | 文件名称 | 文件大小 |
|---|---|---|
| 1 | 17585124429522.rar | 1.53M |
| 2 | assem.DWG | 135.73K |
| 3 | assem.SLDASM | 149.59K |
| 4 | 图片1.png | 7.00K |
| 5 | 图片2.png | 6.75K |
| 6 | 图片3.png | 2.89K |
| 7 | 零件1.SLDPRT | 269.40K |
| 8 | 零件2.SLDPRT | 388.88K |
| 9 | 零件6-副本.SLDPRT | 328.47K |
| 10 | 零件6.SLDPRT | 348.38K |
此图纸下载需要8金币
立即下载
发布者
清秀的绿茶
创作: 1443
粉丝: 9
加入时间:2023-08-28
模型信息
图纸格式:dwg,sldasm,sldprt
文件大小:1.57M
所需金币:8
上传时间:2025-09-22 11:40:42
是否可编辑:可修改,包括参数
版本:SOLIDWORKS 2016
标签
图纸简介
版权说明
用户在本站上传的作品如侵犯到您的权益,请与本站管理员联系删除。用户在本站下载的原创作品,只拥有作品的使用权,著作权归原作者所有,未经合法授权,用户不得以任何形式发布、传播、复制、转售该作品。
AI渲染-将平面图渲染为真实效果图
原图
渲染图
正在渲染中,请稍候...

0.png)
1.png)
2.png)
3.png)
4.png)


