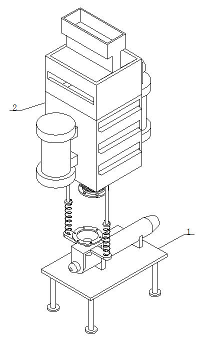
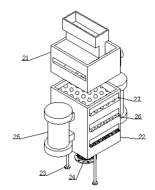
具有筛分功能的挤出机用料斗(ID:2656355)
| # | 文件名称 | 文件大小 |
|---|---|---|
| 1 | 17586147846496.rar | 303.18K |
| 2 | 一种具有筛分功能的挤出机用料斗.dwg | 404.59K |
| 3 | 图片1.png | 13.43K |
| 4 | 图片2.png | 10.88K |
| 5 | 图片3.png | 5.88K |
此图纸下载需要8金币
立即下载
发布者
清秀的绿茶
创作: 1443
粉丝: 8
加入时间:2023-08-28
模型信息
图纸格式:dwg
文件大小:310.46KB
所需金币:8
上传时间:2025-09-23 16:06:24
是否可编辑:可修改,包括参数
版本:AutoCAD 2010
标签
图纸简介
版权说明
用户在本站上传的作品如侵犯到您的权益,请与本站管理员联系删除。用户在本站下载的原创作品,只拥有作品的使用权,著作权归原作者所有,未经合法授权,用户不得以任何形式发布、传播、复制、转售该作品。
猜你喜欢

0.png)


