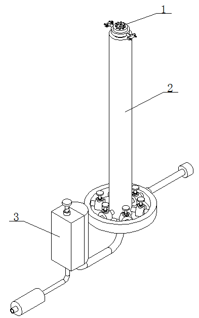
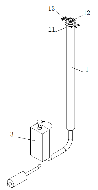
燃烧器用模块化供油装置(ID:2657980)
| # | 文件名称 | 文件大小 |
|---|---|---|
| 1 | 17586930486142.rar | 798.04K |
| 2 | 一种燃烧器用模块化供油装置.bak | 547.63K |
| 3 | 一种燃烧器用模块化供油装置.dwg | 547.63K |
| 4 | 图片1.png | 7.44K |
| 5 | 图片2.png | 8.01K |
| 6 | 图片3.png | 5.57K |
此图纸下载需要8金币
立即下载
发布者
清秀的绿茶
创作: 1443
粉丝: 8
加入时间:2023-08-28
模型信息
图纸格式:dwg
文件大小:817.19KB
所需金币:8
上传时间:2025-09-24 13:50:48
是否可编辑:可修改,包括参数
版本:AutoCAD 2010
标签
图纸简介
版权说明
用户在本站上传的作品如侵犯到您的权益,请与本站管理员联系删除。用户在本站下载的原创作品,只拥有作品的使用权,著作权归原作者所有,未经合法授权,用户不得以任何形式发布、传播、复制、转售该作品。




