弹簧振子检测装置(ID:2740391)
查找相似图纸
截图
AI截图渲染
✨AI图片渲染
| # | 文件名称 | 文件大小 |
|---|---|---|
| 1 | 尺子.SLDPRT | 267.57K |
| 2 | 弹簧.SLDPRT | 346.00K |
| 3 | 弹簧振子检验.SLDASM | 962.52K |
| 4 | 把手.SLDPRT | 90.14K |
| 5 | 支架.SLDPRT | 137.96K |
| 6 | 框架.SLDPRT | 68.56K |
| 7 | 激光笔.SLDPRT | 91.58K |
| 8 | 磁铁.SLDPRT | 111.79K |
| 9 | 重物.SLDPRT | 168.78K |
| 10 | 零件10.SLDPRT | 63.86K |
| 11 | 零件3.SLDPRT | 1.03M |
此图纸下载需要50金币
立即下载
发布者
机械小粤
创作: 976
粉丝: 109
加入时间:2023-06-17
模型信息
图纸ID:2740391
图纸格式:sldprt,sldasm
文件大小:3.2M
所需金币:50
上传时间:2025-10-19 11:28:50
是否可编辑:可修改,包括参数
软件版本:SOLIDWORKS 2020
标签
图纸简介
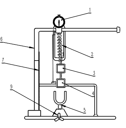
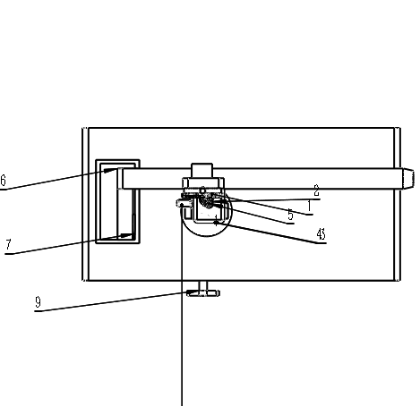
弹簧振子检测是一种用于评估弹簧振子性能的测试方法,广泛应用于汽车、航空、电子、机械制造等行业。通过检测,可以确保弹簧振子的质量和性能满足设计要求,该模型为sw2022版本
版权说明
用户在本站上传的作品如侵犯到您的权益,请与本站管理员联系删除。用户在本站下载的原创作品,只拥有作品的使用权,著作权归原作者所有,未经合法授权,用户不得以任何形式发布、传播、复制、转售该作品。
AI渲染-将平面图渲染为真实效果图
原图
渲染图
正在渲染中,请稍候...




0.png)
1.png)
2.png)
3.png)
4.png)