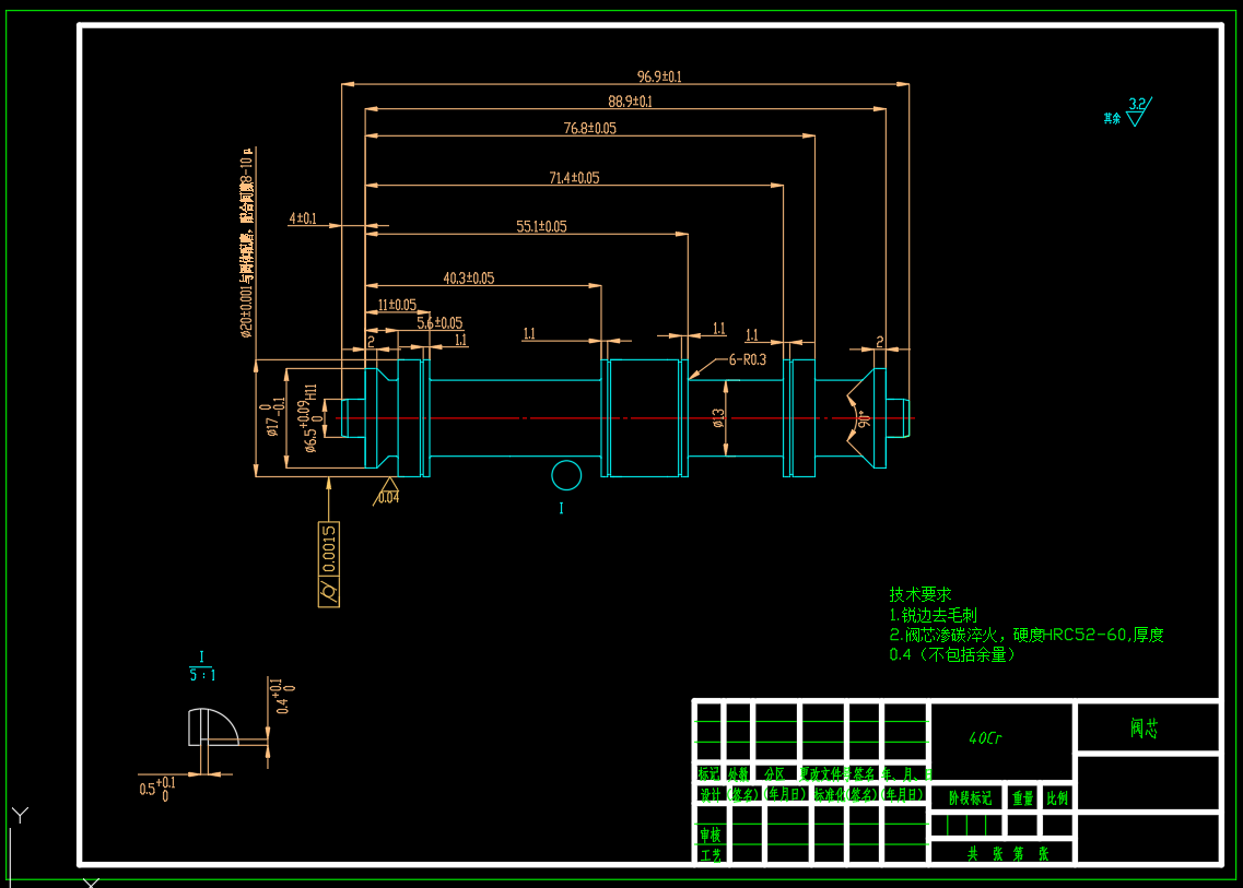
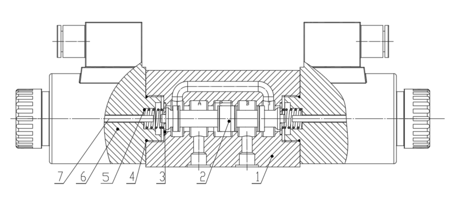
电磁换向阀10通径K型3凸肩(ID:944029)
截图
AI截图渲染
✨AI图片渲染
| # | 文件名称 | 文件大小 |
|---|---|---|
| 1 | 17071066294105.zip | 1.26M |
| 2 | 1.png | 78.08K |
| 3 | 10通径三位四通电磁换向阀(K型阀芯凸肩3).DWG | 334.68K |
| 4 | 十通径K型电磁换向阀(阀芯凸肩数3)设计说明书.docx | 603.41K |
| 5 | 弹簧.DWG | 93.49K |
| 6 | 弹簧座.DWG | 45.13K |
| 7 | 推杆.dwg | 58.54K |
| 8 | 阀体.DWG | 109.52K |
| 9 | 阀芯.DWG | 190.81K |
此图纸下载需要450金币
立即下载
发布者
机械与液压(原创) +V:13122291832
创作: 684
粉丝: 75
加入时间:2023-10-23
模型信息
图纸ID:944029
图纸格式:dwg
文件大小:1.29M
所需金币:450
上传时间:2024-02-05 12:17:12
是否可编辑:可修改,包括参数
软件版本:AutoCAD 2018
标签
电磁换向阀10通径K型3凸肩
图纸简介
电磁换向阀10通径K型3凸肩
版权说明
用户在本站上传的作品如侵犯到您的权益,请与本站管理员联系删除。用户在本站下载的原创作品,只拥有作品的使用权,著作权归原作者所有,未经合法授权,用户不得以任何形式发布、传播、复制、转售该作品。
作者其它图纸 查看更多
AI渲染-将平面图渲染为真实效果图
原图
渲染图
正在渲染中,请稍候...




0.png)

0.png)
0.png)
0.png)
0.png)