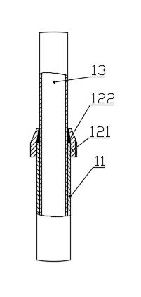
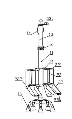
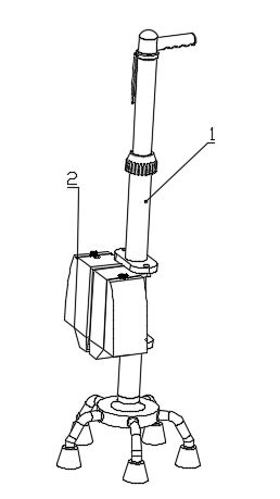
一种医院鞋杖(ID:554049)
# | 文件名称 | 文件大小 |
---|---|---|
1 | 16801826994614.zip | 6.23M |
2 | 内鞋盒.SLDPRT | 144.55K |
3 | 外鞋盒.sldprt | 131.43K |
4 | 手杖上杆.SLDPRT | 137.68K |
5 | 手杖下杆.SLDPRT | 73.26K |
6 | 手杖总装.DWG | 365.79K |
7 | 手杖总装.SLDASM | 710.71K |
8 | 手杖总装.SLDDRW | 135.99K |
9 | 手杖总装1.bak | 427.87K |
10 | 手杖总装1.DWG | 441.23K |
11 | 手杖总装1.SLDDRW | 460.71K |
12 | 手杖总装2.DWG | 365.79K |
13 | 手杖总装3.DWG | 662.60K |
14 | 手环.SLDPRT | 181.88K |
15 | 斜面支架.SLDPRT | 63.35K |
16 | 方舱通道专利用修改版.dwg | 368.03K |
17 | 橡胶圈.SLDPRT | 81.48K |
18 | 橡胶圈螺栓.SLDPRT | 553.76K |
19 | 盖帽.SLDPRT | 107.62K |
20 | 绳子.SLDPRT | 176.19K |
21 | 脚套.SLDPRT | 84.93K |
22 | 脚座.SLDPRT | 296.33K |
23 | 镜向内鞋盒.SLDPRT | 79.20K |
24 | 鞋盒支架.SLDPRT | 89.08K |
25 | 20220621-方舱的侧边折叠式通道及其方舱-S1-副本.doc | 16.76M |
26 | 20220621-方舱的侧边折叠式通道及其方舱-S1.doc | 16.76M |
27 | 一种伸缩鞋杖.doc | 131.50K |
28 | 图一.JPG | 19.03K |
29 | 图三.JPG | 15.43K |
30 | 图二.JPG | 20.41K |
此图纸下载需要15金币
立即下载
发布者
每逢大事有静气
创作: 30542
粉丝: 458
加入时间:2022-08-18

模型信息
图纸格式:sldprt,sldasm
文件大小:6.37M
所需金币:15
上传时间:2023-03-30 21:25:15
是否可编辑:可修改,包括参数
版本:SOLIDWORKS 2017
标签
图纸简介
版权说明
用户在本站上传的作品如侵犯到您的权益,请与本站管理员联系删除。用户在本站下载的原创作品,只拥有作品的使用权,著作权归原作者所有,未经合法授权,用户不得以任何形式发布、传播、复制、转售该作品。